2017-12-22から1日間の記事一覧

x86_64アーキテクチャ

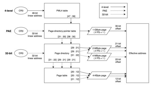
メモリアクセス(続き) ページング(=paging) メモリ領域を分割する方法には、セグメントの他にページングがある。セグメントが、意味のある区切りでメモリを分割したのに対し、ページングは、メモリを決まった大きさに分割する。ページングはセグメントと対…

x86_64アーキテクチャ

メモリアクセス protected modeと64-Bit modeではメモリアクセスの方法が(少し)異なる。protected modeでは、セグメントと(オプションで)ページを使って、物理メモリ(=physical memory)にアクセスする。一方で、64-Bit modeでは、セグメントが実質的に…

x86_64アーキテクチャ

アーキテクチャの種類 Intel developer's manual (以降、IDMと略す) vol-1 ~ vol-4をざっと読んだので、内容を忘れないうちにメモ。この後は、パタヘネ本を読んでいこうと思う。というのも、IDMでは、「アーキテクチャ」が説明されている。だから、実際の実…